本网讯:在商用车辆运营中,火灾、碰撞等突发事故的应急逃生效率直接关乎驾乘人员生命安全。传统逃生锤破窗方式存在操作门槛高、易产生二次伤害等痛点,难以满足紧急情况下快速安全撤离的需求。近日,一款颠覆传统设计的车载手自一体控制逃生窗总成装置正式问世,凭借“电动+手动”双重操控模式与人性化结构设计,为车载应急安全领域带来革命性突破。
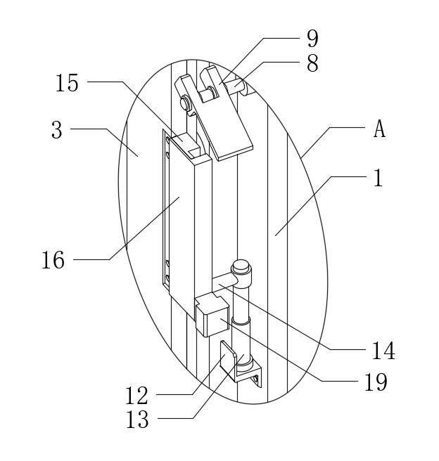
该装置由外框、内框、安装架等核心部件构成,以“便捷操作、安全防护”为核心研发理念,彻底解决了传统逃生方式的诸多弊端。其创新采用电动伸缩杆与机械结构联动设计,当车辆遭遇险情时,车内火焰探测器与烟雾探测器可快速捕捉异常信号,驾驶员通过中控台一键启动电动模式,电动伸缩杆将带动套杆顶起活动架,仅需数秒即可推动安装架脱离内框,开辟出宽敞逃生通道。整个过程无需敲击玻璃,安装架通过活动板与销杆的配合平稳移动,从根源上避免了玻璃碎片飞溅造成的划伤、刺伤风险。


针对电路故障、断电等极端情况,装置同步配备手动应急机制,形成双重安全保障。乘客可直接推动防护框上的推板解除限位,或手动抬升活动架,轻松将安装架推出内框,无需依赖外力与专业工具,老人、儿童也能独立操作。同时,安装架与内框贴合处镶嵌三元乙丙橡胶密封条,既保证了常规行驶时的密封性,又能在紧急情况下实现顺畅开启,兼顾实用性与安全性。
在结构可靠性上,装置采用高强度材质打造外框与内框,与车身结构无缝衔接,即便遭遇碰撞或翻滚,仍能保持逃生通道完整。活动架通过轴杆精准限位,配合滑板与滑槽的导向设计,确保安装架移动过程平稳无卡顿,避免出现倾斜卡死等问题。该装置适配各类商用客车及大型车辆,安装便捷,可满足不同车型的应急逃生需求,为存量车辆改装与新车出厂提供了高效解决方案。


“这款装置的核心优势在于将‘被动破窗’升级为‘主动开窗’,通过双重操控模式覆盖全场景应急需求。”研发团队表示,装置从用户实际逃生痛点出发,在简化操作流程的同时,最大化降低安全风险,真正实现了“人人可操作、秒级逃生”。未来,该车载手自一体控制逃生窗总成装置将广泛应用于商用车辆领域,为驾乘人员构筑坚实的生命安全防线,推动车载应急安全技术迈向新高度。

(李哲俊,王梦雪,姜乐,李雪,杨诗画,任晨伟,骆灿,何鑫,冶金,秦胜强,李益芊格,成金金)
官方微信

手机站点
